HomeGrill ManufacturersWeber is Developing a Dual-Burner Assembly for Gas Grills

Subscribe to the free weekly Weekend Refuel newsletter

Weber is Developing a Dual-Burner Assembly for Gas Grills

Like all grill types, the temperature range on a gas grill is naturally limited. The “low” setting on a gas grill is limited by the lowest flow rate that can prevent flashback. The “high” setting on the other hand is constrained by the burner’s ability to prevent flame lift or undesirable combustion outputs like carbon monoxide.

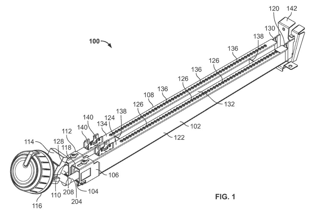
According to a patent filed by Weber, they’re working on a way around that with a dual-burner assembly setup. It would give their gas grills a lower “low” for smoking and simmering and a higher “high” for anywhere searing capabilities.

Get premium content access with no ads for $8.

Already a premium member? Sign In Here

SourceUSPTO
RELATED ARTICLES

Most Popular